欧盟认证快讯:徐州科利达电控科技有限公司获得欧盟强制CE认证证书;徐州科利达电控科技有限公司生产的料流检测器、双极跑偏开关、双向拉绳开关、撕裂检测器、速度检测器等通过欧盟认证BST公告机构的CE认证安全评估,产品各项指标符合欧盟强制认证法规要求并取得CE认证证书。在此表示祝贺。登陆欧盟市场满足欧盟法规要求,CEEU做您全球战略布局基?。?/p>


概述:
本机适用于化学塑胶、制药、饲料、水泥、粮食、面粉、电力、化工粉料等工矿。
工作原理:
阻旋式料位控制器之叶片是利用传动轴与离合相接,在未接触物料时,马达保持正常运转,当叶片接触物料时,马达会停止转动,机构会同时输出一点信号而测出料位高度或料仓堵塞信号。
结构特点:
本机选用铝合金铸造,强度高,重量轻,安装简易。
全封闭性,室内室外都可使用。
独特的油封设计可防止粉尘沿轴渗入。
扭力稳定可靠,且扭力大小可调节。
叶片承受过重负荷时,马达回转机构会自动打滑,确保马达不受损坏。
不必从料仓上整件拆除,即可轻易的检查维修内部零组件。
技术参数:
电源:220VAC(A型),110VAC(B型),24VAC(C型)50/60Hz;
功率:3W
接点容量:SPDT 5A/250V(AC)
叶片转速:I.R.P.M
绝缘电压:AC 1500V*lminufe
测量扭矩:0.5-1.0Kg/cm
防护等级:IP66/ADC-12
环境温度:标准-20℃ ~ 60℃;高温+720℃
测量介质:粉状或颗粒物料
输出信号:触点输出;???常闭
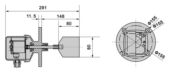
外形尺寸:

扭力调整:
扭力弹簧是用来调整转轴的输出扭力,当被测物比重大时可将弹簧扭过调至强档位置,此时叶片的灵敏度较好;反之,被当被测物比重小时可将弹簧调至愈弱位置,此时叶片的灵敏度较较佳。扭力弹簧请勿随意改变,以免造成误动作。
安装注意事项:
为了防止使用仲物料的砸击,侧装时应在检测叶片上方的容器内安装防护板。如果采用加长轴项置垂直安装,则应在轴套外保护套筒(或应使叶片和软轴所处位置不受到物料的直接砸击)。为避免室外环境暴雨渗入,侧装时应使出线口垂直向下并旋紧上盖。